| < Return to index page |
Modern Rail Container Services
The containers used on the railways in Britain were designed for that work, the most popular closed types had curved 'van' type roofs and could not be stacked one on top of the other (partly because they had to be handled by relatively small hand powered cranes in goods yards).
The Danes pioneered international containerisation in 1950, with two small ships of 550 tons DWT offering a door to door service via Copenhagen to other ports. The big problem faced by containerisation is achieving a standard so that handling equipment and containers will be available at reasonable cost. The Danes failed to convince people to make such an investment which severely restricted the development and success of the venture.
In the late 1950's a man named Maclean, owner of a trucking company in the US, started to work on the idea of carrying a complete semi-trailer round the coast on the deck of a ship. He then realised that he did not need to transport the trailer wheels and his design evolved into a container that could be carried on a truck but lifted easily onto a ship. Today the type of container he developed is known as a swap-body. At the time no one thought this a good idea, the US railroads actually blocked its acceptance at the time but in 1956 Mcalean sold his trucking business and bought a small fleet of ships (actually he converted two tankers) to carry his containers and calling his new company Sea-Land.
He still faced a lot of opposition, the unions were worried about the jobs of the dockers, shipping companies did not want to invest in new container ships and the ports were not keen on having to provide new cranes to handle them. The cost savings in man-handling the cargo off the lorry, onto the ship and off the ship and onto a lorry and the time saved in loading a lot of cargo on and off the ship proved a winner however and Maclean's business did well.
Other companies followed but they each had their own 'standard' design for the containers, all requiring different handling gear, and all parties were reluctant to allow others to use their system. The US military were at the time involved in Vietnam, during the second world war they had adopted the unit load, in the form of the pallet, to ease their supply problems. In Vietnam they began using containers, built to a Department of Defence specification, and this provided the necessary user base to allow the development of a viable international standard.
The ISO (International Standards Organisation) used the US DoD basic design to produce a standard design for containers that could be shipped by sea, road or rail. The ISO standard was based on a ten foot long container, eight feet wide and eight feet high, with reinforced corner posts fitted with special lifting brackets in the top and bottom corners. The strong corner posts allowed the boxes to be stacked on board ship and they soon proved their worth. This new standard, coupled with the dramatic reduction in shipping costs when using containers, gave the impetus for people to invest in the required handling equipment and ISO boxes began to appear in trades around the world. The ten foot standard length gave rise to a standard unit of measure the 'ten foot equivalent unit' or TEU (more recently I have seen references to the 'twenty foot equivalent unit' but the original TEU was the ten footer).
These containers were initially handled at the existing ports using standard dock side cranes but by about 1967 specialised quays were opened equipped with purpose built container handling cranes.
The Americans modified existing cargo ships, fitting them with vertical guides to allow containers to be stacked in the holds (ordinary cargo ships were commonly fitted with securing brackets on their decks to carry a small number of ISO containers). In 1964 the Australians built the first purpose built container ship, the M.V. Kooringa. This had guides in all the holds and was the first so called 'cellular container ship'. The cellular container ship idea caught on and a series of ever larger ships were produced for container traffic. The traditional cargo ship took a long time to load and unload, so they tended to be fairly small by modern standards, the rapid loading and unloading of containers using purpose built cranes means that ships can be much larger and the stuff in the bottom of the holds will still be off-loaded quickly. By the 1980's so much international cargo had switched to containers that the traditional ports often quite a long way inland were in serious decline, the following decade was marked by the redevelopment of the redundant docklands as larger container ports were built closer to the sea where deep water berths could be built. The ISO container now totally dominates sea trade with America and the Far East but in Europe ISO containers have not made nearly so big an impact, mainly because the most common pallet size (1200 x 800mm) does not fit neatly into the ISO standard container. In the event European shippers have developed the road-rail 'swap body' or Cassion Mobile described below specifically to suite their preferred pallet size.
The new ISO containers passing through the ports were often forwarded by rail and in the days before container handling gear became commonplace the containers had to be handled using large cranes. These were fitted with a heavy spreader bar from which four steel rods or wire rope strops were taken to lifting lugs fitted to the base of the container.
Manchester Liners were an early adopter of the ISO container, their first container-capable cargo ships appeared in 1963 (the first British company to operate such a vessel) and in the later 1960s they built a specialised container port in Salford docks and then a fleet of cellular container ships. The sketches below show the liveries used in the 1960s and 1970s. Note the fork-lift sockets are rather close together, designed for use with standard fork lift trucks, and only when the container is empty.

Fig : Manchester Liners containers
The Manchester Liners fleet was bought out by C Y Tung in 1982 and ceased trading to Manchester (mainly because the docks could only handle ships up to 10,000 tons, too small for the newer container ships).
The sketch below shows Seawheel containers which have the lifting lugs as well as the standard ISO corner lifting sockets. The sketch is based on photographs I found on Paul Bartlett's website (see App 7 Useful Links). These containers were photographed at Liverpool in the 1960's when they were operating on the Irish traffic. Both were photographed on Freightliner flats so the photograph was taken after 1964. The half height non-stackable open container is a twenty foot type and shows the original Seawheel lettering style, the canvass topped variant is a thirty footer and shows the later lettering (still in use today). I am trying to confirm the details of the livery used by Seawheel in its early years.

Fig : Early containers fitted with lifting lugs
Seawheel were one of the first containerised shipping companies in Britain, by the early 2000s they were operating Europe-wide container services having been consistently been at the cutting edge of container technology. In 2018 I tried to find an update but the firm seems to have been wound up in 2013 having been bought up by the Dutch company Samskip Multimodal.
These eight foot high ISO containers appeared in Britain in the early 1960's but they were a bit on the large side for the British loading gauge when carried on standard height wagons. British Railways modified about a hundred 'lowmac' four wheeled well wagons to carry ISO containers, coding them CONFLAT ISO.
The well-centred Lowmac could be used to carry a single twenty foot long ISO container and these could have travelled anywhere on the system. The floor of the lowmac was only about sixteen feet long so a twenty foot long metal frame was added to carry the container. This frame was fitted with standard ISO container securing points at the corners. The frame came in two half sections, bolted together in the centre of the wagon. Each half consisted of two side frames joined by four cross-bars, the inner three of which each had two supporting legs. As the frame was removable (at the time no one was sure if the new containers would catch on) the Conflat ISO frame carried its own number and branding. On some of the Lowmacs the original branding was retained (for example LOWMAC ED) but on some it was changed to CONFLAT ISO.
The Lowmac wagons were just over eight feet wide (eight foot seven inches seems to have been fairly common width for the type) so they were wide enough to carry the eight foot square ISO boxes.

Fig : Lowmac converted for ISO containers
In about 1965 five dual-braked plate wagons (of the type offered by Peco) had their vacuum brakes and any remaining body removed and were fitted up to carry ISO standard containers. These wagons were (confusingly) coded Conflat P (they had very different securing points from the old Conflat P's of the Condor and Speedfreight services). I have not traced any references to these wagons in normal services but given the constraints of the British loading gauge they would be very restricted in their routes carrying full-height ISO containers (they may have been used to carry half-height containers for a particular traffic, such as the Seawheel container shown above). As the vacuum brakes were removed these wagons may have been intended for ferry working to the continent but again I was not able to find any references to the wagons on the ferry services.
The first Freightliner bogie flat wagons were ordered in 1964 and Freightliner services began in 1965. The Freightliner owned containers were not intended for international use and were not actually ISO standard. Although they shared the eight foot square end they did not have the ISO standard corner lifting points, they were designed to be lifted using grapple arms on a lifting frame (a system which had proved its worth with the Speedfreight service). The lifting points were fitted at twelve foot separation on the sides of the floor, on the van type boxes these had a white line round them to aid staff fitting the grapples. As far as I am aware these grappler lifting points were not part of the original ISO specification but I could be wrong on that (grappler arms are used today for lifting road-rail semi-trailers and swap-bodies, see the section on Railway Company Goods Facilities - Container handling). Initially two sizes of Freightliner containers were produced, both 'van' types, one was twenty feet long the other was twenty seven feet long, most had doors in one end but a few were built with curtain sides. Freightliners are discussed in detail in the section on Operations however it is perhaps worth mentioning that the photographs on Paul Bartlett's web site (see App 7 Useful Links) show a Freightliner flat coupled up to two of the adapted lowmacs described above in a general railway goods yard.
Fig : Early Freightliner 20 & 27 Foot Containers
The original Freightliner concept was for main-line inter-city haulage an the container flat wagons were built with that in mind. At over sixty feet long they are simply too long to negotiate many routes, however the advantages of the international standard for container handling promoted interest in several quarters. Quite a number of private owner container flats have been built to carry ISO standard boxes. Tiphook operates a fleet of bogie wagons with raised sections at both ends carrying the buffers and couplings (coded FFA originally now apparently re-coded KFA). In practice these wagons seem to be confined to all-container rakes although they could be marshalled singly into mixed rakes if required.
One unusual use for the Freightliner flats was a regular service between London and France via the train ferries, this operated regularly in the 1970's (see also Freight Operations - Ferry Traffic).
By the end of the 1970's the ten foot long container was a rare beast, the single most common size being the 20 foot unit, with the 40 foot becoming more common. The 30 foot containers, as seen on several commercial models, are in fact rather uncommon in general traffic.
There are a number of ISO standard container types in service including curtain sided, top-loaders with a canvass roof (used for grain), half-height open containers (used for bricks amongst other things) and even some with no top or sides for large items such as agricultural equipment. Tank containers have been built in various designs for carrying all types of liquids from wine to dangerous chemicals.
Fig : Common ISO closed container types

Fig : Common ISO open container types

Fig : Common ISO tank container types
Also the various waste disposal operators have purchased their own flat wagons, London was first, starting operations in the late 1970's, Manchester followed in 1987 and I believe Bristol also operates containerised domestic waste services. Some of these are similar to the Freightliner sets with 'inner' and 'outer' vehicles in fixed rakes whilst others are wagons with buffer beams at each end. The Manchester rubbish wagons are of the latter type, coded PFA they have a single fish-belly girder running along under the centre line of the wagon in place of the open framework of the Freightliner wagons (the Lima Freightliner wagons will serve for this type, although buffer beams will be required at each end). The wagons and containers are owned by the waste disposal authorities in the various cities and the rubbish trains operate as block workings which enthusiasts call 'Binliners'. These containers and the service they provide is discussed more fully in the section on Freight Operations - Non Freightliner Air Braked Container Services.

Fig : Manchester 'binliner' wagon
Over time the 'standard' ISO container has evolved into a range of 'standards', the original US Department of Defence specification was for a box eight feet wide and eight feet high in multiples of then feet. Someone in America then decided to build containers that were eight feet in the clear inside, producing a container that was eight feet six inches high. When these arrived in Britain they ran into problems with the already tight clearances for Freightliner traffic. These were in turn followed by boxes nine feet high and for these a completely new type of wagon was required. The solution was a wagon with thin but deep side walls supporting a very low floor and forming a pocket in which the container sits. These were christened 'pocket wagons' for obvious reasons. The containers then increased in size again, producing the nine foot six inch high 'hi-cube' box. Pallets have developed independently of containers but tend to be shipped in containers. In about 2003 a new idea was put forward for containers eight feet six inches wide, so called ISO2 specification, designed specifically to suit the European standard size of pallet. These would not fit in the guides of the modern container ship and shipping companies at the time favoured a change in the size of the European pallet.
Things are not so simple however, the Euro Pallet was developed based on a standard unit size for boxes to be stacked on it and European standard carton sizes would also need to be changed. The swap-body containers discussed below are built to this wider specification specifically to utilise the Euro Pallet. In the event some shipping companies decided to adopt a new container specification, based on the Euro-Pallet and they invested in ships able to transport these boxes. The European market is now largley dominated by the new larger boxes, the ISO containers remaining the norm for deep-sea transportation to and from Asia and America. These containers are wider than the standard ISO type but they can be carried on more modern container wagons. Seawheel remain in the European container business and they now offer a range of these Euro-standard containers to their customers.
Pocket Wagons

More recently (around 2002 I think) 45 foot long containers were introduced. These employ standard ISO lifting fittings but they are not technically a standard ISO container and the ships used to carry them require non-standard container bays. In spite of this they have seen increasing acceptance and are regularly shipped to the UK. This is interesting bearing in mind that the original Freightliner boxes were either twenty feet or twenty seven feet long because it was felt that a thirty foot long container would not be too long for comfortable use on British roads.
Modern Non ISO Standard Containers
My knowledge of this area is somewhat scanty, I am therefore grateful to Brian Williams for his advice on these non standard container wagon types. Brian passed me a detailed set of notes, any errors however are probably due to my misinterpretation of those notes.
In the early 1960's as BR was experimenting with air brakes on goods stock they settled on a twenty foot nine inch wheelbase chassis (essentially the same as that offered by Graham Farish and Taylor Plastic Models). Some of these were kitted out as container flat wagons, having an open frame floor and various securing points, some based on the standard ISO containers. The wagons, TOPS coded FPB, could not carry standard ISO closed boxes as the floor was too high but they did find employment on various duties including transporting whisky tank containers of various designs. There are a number of useful pictures of these containers on Paul Bartlet's website http://gallery6801.fotopic.net/ including both-side views, taken at Shildon yard in 1967.
In the late 1970's Cobra Containers Limited developed a series of open and closed containers for shipping minerals such as coal and potash. Some of these are lower than the normal ISO types to allow them to ride on standard height wagons. Most had standard ISO lifting points allowing the use of standard off-the-shelf container handling equipment but some were designed to include the option of being moved using large fork-lift trucks.
Among the early designs were some twenty foot open topped boxes for coal introduced in the mid 1970's. These boxes ran (and possibly still run) on purpose built four wheeled wagons with a drop centre, the containers themselves were of reduced height but the low centred wagons allowed them to fit under the loading screens at Coedbach, Onllwyn, and Gwaun-Cae-Gurwen collieries.

Fig : Drop centre wagon for use with 20 foot coal containers
Two firms used these containers for exporting coal from Wales to Northern Ireland, Kelley's and a company called Cawoods (part of the Redland group), more information will be found in the section on Freight Operations - Coal. Being a standard ISO 'footprint' the containers would fit into a standard container carrying ship but I think that only Kelly's operated them in this way (I could be wrong on that). I believe the Cawoods containers were lifted over a conventional collier using a special attachment suspended from the lifting hook of a wharf crane, this tilted the box back to allow the door catches to be released then tipped it forward to empty the container into the hold. This meant the container could be lowered down into the hold before being emptied, reducing the fall and hence the damage to more friable types of coal.
For more information on the livery and employment of these containers see also Railway Freight Operations - Coal.
Cleveland Potash purchased some purpose built containers in the 1970's for transporting potash from their mines at Boulby to Avonmouth and other locations. The potash containers taper toward the top where there is a narrow opening covered by a hinged cover. They were originally carried in pairs on British Railways vacuum braked bogie flats but Cobra Railfreight had some older air braked wagons converted to carry these containers. These included re-built Zinc bloc wagons, PO tank wagon chassis, and converted plate wagons. British Railways had converted a number of older wagons to dual air and vacuum brakes in 1969 for trials and the plate wagons were drawn from this pool, the vacuum brake was removed and replaced with a through pipe. I believe the tank wagon chassis were similar to that on the Peco long wheelbase tanker.
Potash is Potassium Carbonate, a white granular substance used for making special glass for TV screens, washing raw wool, making printing inks and pigments and as a food additive (potash is used in most soft drinks and Baking Soda is Potassium Bicarbonate). Most British supplies are imported but some is still mined at the Boulby Mine in Cleveland. This material requires covered transport as if it gets wet it becomes a sticky mess which is difficult to discharge from the container.
It should be noted that potash is a widely used material and this firm have also used a number of hopper wagons for deliveries. Potash tends to stain the wagons (and presumably the containers) white.
These early four wheeled wagon conversions all carried twenty foot long containers but by 1982 a new design of wagon was in service, based on a redundant four wheeled air-braked SAA steel wagon chassis and able to carry a thirty foot long 'box'. In 1982 a Scottish coal merchant called Russel set up a containerised coal delivery service using Cobra thirty foot open topped tipper boxes, again these were built to ISO specifications but the height was reduced slightly to fit the British loading gauge.
Graham Farish have released a model of this modern air-braked container wagon with a closed `box' as its load. I suspect this is not prototypical as they sit too high for full size containers to be carried. Taylor Plastic Models offer a metal insert to enable an unloaded wagon to be modelled using the basic chassis and they also offer the same wagon with either a type 1 or type 2 thirty foot open topped 'Russel' coal container (I believe the important difference is in the height of the box but the framing on the lower sides was also different). Liveries for these coal containers have been sketched in the section on Freight Operations - Coal. The larger 'Russel' type containers have also been used to carry other products, including beetroot for Baxter's from Ely and animal foods but I have no information on the livery they carried (probably plain grey).
In 1981 Cleveland Potash started selling rock salt to local authorities for road gritting and as British Railways did not like the effect the salt had on its wagons Cobra produced some thirty foot long open topped containers for this traffic. The containers have a door at one end and when transferred to a tipper-equipped road lorry they can be easily discharged at the receiving end. Also in the early 1980's Alcan began using open containers for large aluminium billets. The containers had half-height ends and no sides with up to eleven strakes set into pockets along the sides (usually only about six or eight strakes were fitted). These services were still running in the late 1990's. Unfortunately I have not seen these wagons, or seen photographs of them, so I cannot attempt a sketch.
Road-Railers, Piggyback & Swap Body Services
The Road-Railer is a semi-trailer that can be used on both road and rail, usually with a rocking set of rear axles carrying both types of wheel. The other end of the container is supported either on the road tractor or on a four wheeler railway wagon. This idea started in America in the 1950's and in the late 1950's and early 1960's British Railways experimented with an articulated road semi-trailer with two axles at the rear, one fitted with railway wheels the other with conventional road wheels. The axles were carried on a frame which could be tilted to lift either set of wheels clear, leaving the other pair to carry the vehicle. The front end of the trailer was supported on the railway by a specially built four wheeled wagon and the rear of the trailer was fitted with a coupling point to connect to the wagon behind. Several prototypes were built but the idea was not a success at the time, mainly because of the time taken to break-up and assemble the train at each end of the journey. The British Road-Railer project was abandoned in 1964.
In the 1990's the road-railer idea was re-evaluated and new vehicles were built for use in Britain to an American design by a private contractor. Again there was a lack of interest in the system but the resulting stock was used in the late 1990's to carry paper between Northampton and Aberdeen.
Piggyback is an American term for trains carrying road trailers, either towable types or articulated semi-trailers. Again this is not exactly a new idea, in Britain four wheeled furniture vans had been transported on purpose built wagons since the earliest days of the railways and both four wheeled and semi-trailer road tank trailers have been used for milk, beer and other liquids since the 1930's.
With the increasing size of standard road vehicles and the restrictions of the British loading gauge this became a problematic option for the British railway network. There were some attempts at building suitable wagons in the 1980's but the road trailers had to be specially built to slightly reduced sizes to fit within the British loading gauge. One company (Charter Rail) built some wagons to carry purpose built semi-trailer road tanks and (I seem to remember) some reduced size semi-trailers. These saw some service (I believe Pedigree Foods used the semi-trailers (or possibly swap bodies) to run block trains of pet food at one time) but the company eventually sold the wagons and road vehicles to Freightliner as mentioned below.
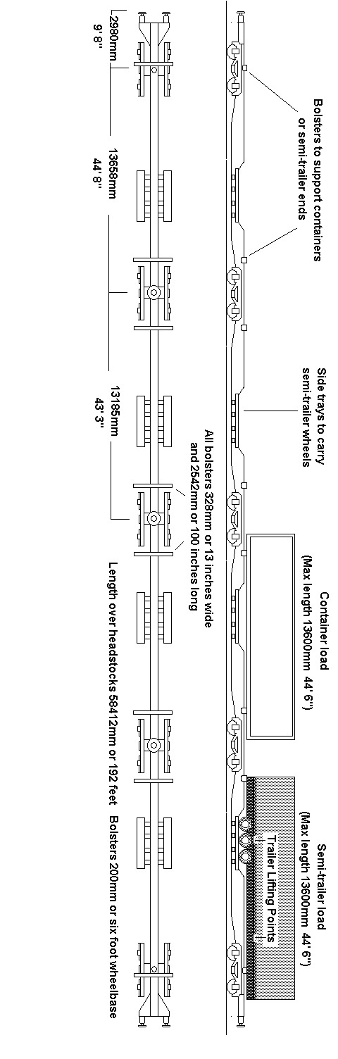
In the early 1990's there was talk of increasing clearances on certain rail routes to allow European standard semi-trailers and containers to be carried on specially built wagons in the UK. First on the market was the Thrall 'Eurospine' vehicle. This can carry forty foot long containers or purpose built semi-trailers (the trailers have to be lifted onto the wagon using either a very large fork-lift type truck or an overhead gantry crane). The term 'spine wagon' has been in use for some time for vehicles such as these, they have a central girder carrying bolsters (to support containers and the non wheeled end of a semi-trailer) and low slung trays (to carry the wheels of the semi-trailers). The Eurospine entered service in 1998 carrying purpose-built trailers for Post Office 'Parcels Force' between London & Edinburgh, the trailers used resemble standard box-body van type semitrailers but they are built to slightly reduced dimensions to allow them to be used on the existing British rail network.

Fig : Eurospine
Freightliner followed a similar course, using the redundant Charter Rail low-loading wagons mentioned above to carry purpose built semi-trailer tanks of chemicals between Tilbury and Manchester (they operate loaded in both directions as the chemicals carried are compatible). Again the tank trailers resemble standard oval bodied road types but they are built to slightly reduced dimensions and they are fitted with lifting points on the sides of the underframe as they have to be lifted on and off the wagons by crane.
The swap body is a non-ISO type of container, resembling a standard lorry trailer body it can be carried by railway wagon or road lorry trailer. They are over eight feet wide, specifically to suit the standard European pallet size (1200 x 800mm) so they will not fit into the guides on a modern cellular container ship and they are used purely for road-rail transport. They are not stackable and do not have the ISO top lift points, they are normally handled using grappler arms (as used on the original Freightliner containers), full details will be found in the section on Railway Company Goods Facilities - Container handling.
Swap-bodies actually first appeared in America as far back as 1956, introduced by a Mr Maclean for his Sea-Land company as described above. They were transported round the coast on the deck of two specially modified tanker ships to save on the cost of road haulage. The swap bodies currently in use in the UK are already popular on the continent (where they are called Cassion Mobile). They are better suited to the Euro Pallet sizes and can carry more than a standard ISO container. Also they can offer a range of design options which are not possible with the more tightly controlled standards of the ISO container. The problem for the British is once more a matter of size. The standard swap body is a bit on the large size for the British loading gauge and hence they can be used on only a limited number of routes. The Spanish firm Transfesa began using the swap body in the early 1980's for traffic from Spain. The Transfesa swap bodies were transported on continental designed ferry-equipped four wheeler rail wagons.
In 1990 a small fleet of twenty five French designed multi-function bogie wagons were brought into Britain for use by Frieghtliners. These 'Multifret' wagons resemble standard Freightliner wagons but they are designed to carry 'swap bodies' as well as containers. They appear to be longer than the usual Freightliner flats and they have an air tank and pipe works mounted on the top toward either end. I have to date seen only one of these wagons, marshalled in a standard Freightliner train and carrying a single forty foot long container. Unfortunately that was in the late evening and I just happened to notice it as it trundled through Stockport station so I cannot confirm the livery details or attempt a sketch.
| ^ Go to top of page |
International Good Guys ~ Making the world a better place since 1971
All material Copyright © Mike Smith 2003 unless otherwise credited